Условие:
РАСЧЕТ ЛИНЕЙНОЙ ЭЛЕКТРИЧЕСКОЙ ЦЕПИ ПОСТОЯННОГО ТОКА
Задание:
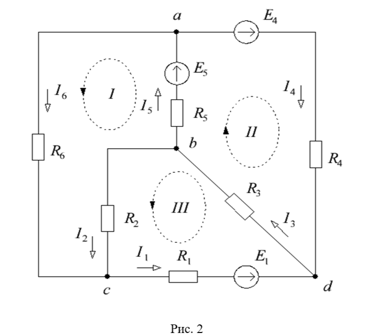
1. Определить токи в ветвях с помощью уравнений, составленных по законам Кирхгофа.
2. Определить токи во всех ветвях методом контурных токов.
3. Результаты расчета токов, проведенного двумя методами, свести в таблицу и сравнить их между собой.
4. Составить баланс мощностей в расчетной схеме, вычислив отдельно суммарную мощность источников электрической энергии и суммарную мощность нагрузок.
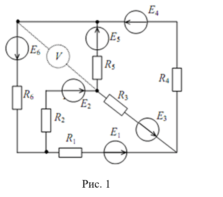
Схема цепи представлена на рис. 1. Значения параметров цепи указаны в таблице №1.



