Условие:
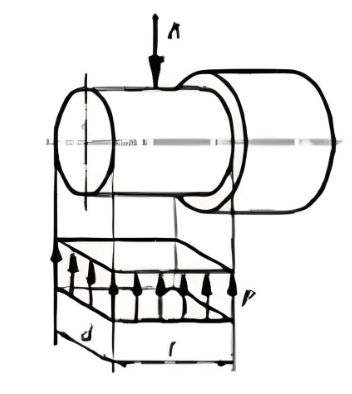
Проверить подшипник скольжения, работающий в условиях граничного трения, если диаметр цапфы 40 мм, длина цапфы 60 мм, нагрузка 14 кН, скорость вращения оси 29 с-1. Материал вкладыша подшипника — Бр04Ц4С17, материал оси — сталь 45 (рис.1).
Дано: d = 40 мм; 𝜔 = 29 с-1; l = 60 мм; R = 14 кН.

Рисунок 1
